27、存档快照如何使用?什么是存档快照?
什么是存档快照?
存档快照是为了保障用户存档的安全性而设计的系统应急预案机制。如果遇到存档被重置、存档坏了无法启动或者一下其他的什么异常,可以用存档快照来救档
工作原理
系统在固定的几个时间点,自动检测当前用户的存档,当检测到存档备份服务器还没有保存过该存档的时候,就自动的创建存档备份(注意是固定的几个时间点,并不是实时保存)并将新存档保存到存档备份服务器中, 存档快照是完全独立运行的,用户无感知,同时与用户手动点击创建的存档备份完全独立。
如何使用?
提示
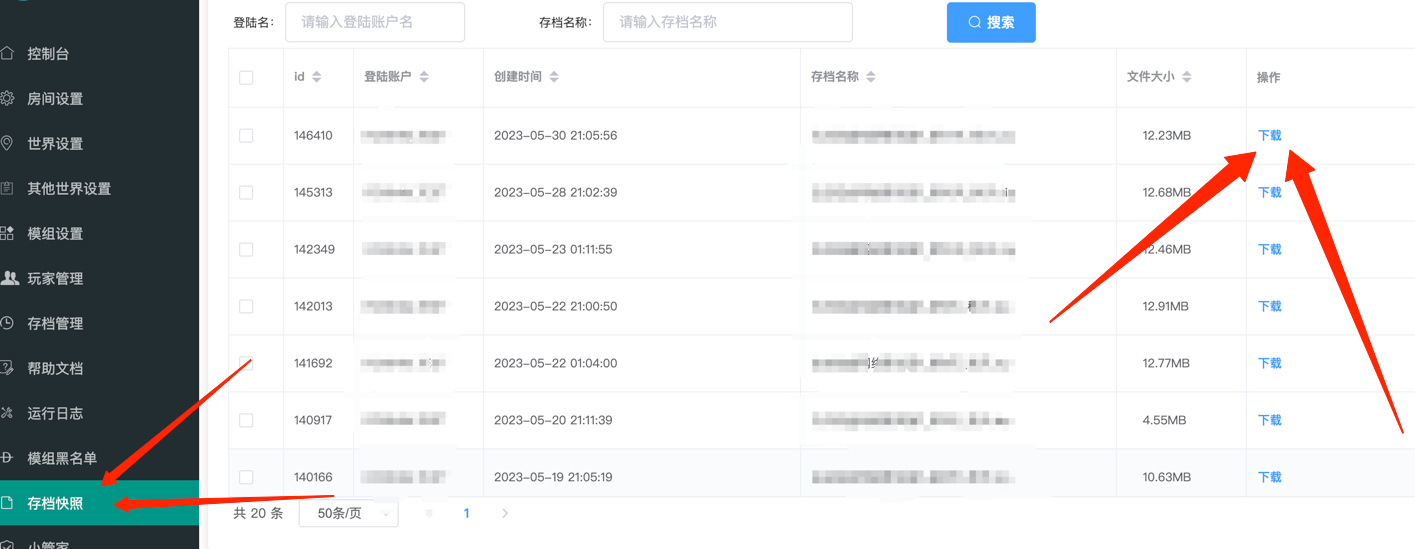
确认自己是否拥有存档快照功能
1、进入存档快照,下载一个与自己使用天数比较接近的存档,存档都是按创建时间排序的;如果是服务器无法启动情况,请下载更老一点存档来尝试救档,如果不行可以继续往前找更老的存档

2、将下载的存档上传回服务器
- 3、解压刚刚上传的存档
- 4、启动服务器

